В промышленных трубопроводных системах часто возникает необходимость соединения труб разного диаметра. В то время как для больших трубопроводов стандартным решением являются сварные переходники, Ниппель переходный используются для труб меньшего диаметра и в системах высокого давления.

В этом руководстве рассматриваются типы, типы соединений и размеры переходных ниппелей, чтобы помочь вам Ниппель переходный решения при закупке.
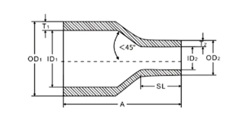
Ниппель переходный, также известные как переходные редукторы или трубные переходники, представляют собой кованые фитинги, соединяющие две трубы разного диаметра. Они позволяют уменьшить диаметр трубопровода на очень небольшом участке. Обычно они привариваются встык или с помощью раструбной сварки, обеспечивая прочное, герметичное соединение, идеально подходящее для систем высокого давления в нефтегазовой, химической, нефтехимической и энергетической отраслях.
Как и стандартные переходники, Ниппель переходный классифицируются по форме и расположению.
Концентрический Переходной Ниппель

Форма: Симметричная, напоминает конус.
Функция: Равномерно уменьшает диаметр. Центр входного отверстия идеально совпадает с центром выходного отверстия.
Лучшее применение: Вертикальные трубопроводы. Эта симметрия обеспечивает плавный поток жидкости и предотвращает турбулентность.
Эксцентричный Переходной Ниппель

Форма: Асимметричная; одна сторона плоская, а другая коническая.
Функция: Центр меньшего конца смещен относительно центра большего конца.
Лучшее применение: Горизонтальные трубопроводы. Плоская сторона обычно устанавливается вниз (нижняя плоская) для предотвращения застоя жидкости или вверх (верхняя плоская) для предотвращения образования воздушных карманов.
Концентрический переходной ниппельпо стандарту ASME B16.11

| Номинальный размер | Передозировка в конце | Длина меньшего конца | От начала до конца | |
| DN | NPS | OD1×0D2 | SL min | A |
| 8×6 | 1/4×1/8 | 13.7×10.3 | 20 | 57 |
| 10×6 | 3/8×1/8 | 17.1×10.3 | 20 | 64 |
| 10×8 | 3/8×1/4 | 17.1×13.7 | 20 | |
| 15×6 | 1/2×1/8 | 21.3×10.3 | 20 | 70 |
| 15×8 | 1/2×1/4 | 21.3×13.7 | 20 | |
| 15×10 | 1/2×3/8 | 21.3×17.1 | 20 | |
| 20×6 | 3/4×1/8 | 26.7×10.3 | 20 | 76 |
| 20×8 | 3/4×1/4 | 26.7×13.7 | 20 | |
| 20×10 | 3/4×3/8 | 26.7×17.1 | 22 | |
| 20×15 | 3/4×1/2 | 26.7×21.3 | 22 | |
| 25×6 | 1×1/8 | 33.4×10.3 | 20 | 89 |
| 25×8 | 1×1/4 | 33.4×13.7 | 20 | |
| 25×10 | 1×3/8 | 33.4×17.1 | 22 | |
| 25×15 | 1×1/2 | 33.4×21.3 | 22 | |
| 25×20 | 1×3/4 | 33.4×26.7 | 22 | |
| 32×6 | 11/4×1/8 | 42.2×10.3 | 20 | 102 |
| 32×8 | 11/4×1/4 | 42.2×13.7 | 20 | |
| 32×10 | 11/4×3/8 | 42.2×17.1 | 22 | |
| 32×15 | 11/4×1/2 | 42.2×21.3 | 22 | |
| 32×20 | 11/4×3/4 | 42.2×26.7 | 25 | |
| 32×25 | 11/4×1 | 42.2×33.4 | 25 | |
| 40×6 | 11/2×1/8 | 48.3×10.3 | 20 | 114 |
| 40×8 | 11/2×1/4 | 48.3×13.7 | 20 | |
| 40×10 | 11/2×3/8 | 48.3×17.1 | 22 | |
| 40×15 | 11/2×1/2 | 48.3×21.3 | 25 | |
| 40×20 | 11/2×3/4 | 48.3×26.7 | 25 | |
| 40×25 | 11/2×1 | 48.3×33.4 | 25 | |
| 40×32 | 11/2×11/4 | 48.3×42.2 | 25 | |
| 50×6 | 2×1/8 | 60.3×10.3 | 20 | 165 |
| 50×8 | 2×1/4 | 60.3×13.7 | 22 | |
| 50×10 | 2×3/8 | 60.3×17.1 | 22 | |
| 50×15 | 2×1/2 | 60.3×21.3 | 25 | |
| 50×20 | 2×3/4 | 60.3×26.7 | 30 | |
| 50×25 | 2×1 | 60.3×33.4 | 30 | |
| 50×32 | 2×11/4 | 60.3×42.2 | 30 | |
| 50×40 | 2×11/2 | 60.3×48.3 | 30 | |
| 100×40 | 4×11/2 | 114.3×48.3 | 40 | 229 |
| 100×50 | 4×2 | 114.3×60.3 | 45 | |
| 100×65 | 4×21/2 | 114.3×73.0 | 45 | |
| 100×80 | 4×3 | 114.3×88.9 | 45 | |
| 100×90 | 4×31/2 | 114.3×101.6 | 45 | |
| 125×8 | 5×1/4 | 141.3×13.7 | 25 | 279 |
| 125×10 | 5×3/8 | 141.3×17.1 | 25 | |
| 125×15 | 5×1/2 | 141.3×21.3 | 25 | |
| 125×20 | 5×3/4 | 141.3×26.7 | 30 | |
| 125×25 | 5×1 | 141.3×33.4 | 30 | |
| 125×32 | 5×11/4 | 141.3×42.2 | 40 | |
| 125×40 | 5×11/2 | 141.3×48.3 | 40 | |
| 125×50 | 5×2 | 141.3×60.3 | 45 | |
| 125×65 | 5×21/2 | 141.3×73.0 | 45 | |
| 125×80 | 5×3 | 141.3×88.9 | 45 | |
| 125×90 | 5×31/2 | 141.3×101.6 | 45 | |
| 125×100 | 5×4 | 141.3×114.3 | 50 | |
| 150×15 | 6×1/2 | 168.3×21.3 | 30 | 304 |
| 150×20 | 6×3/4 | 168.3×26.7 | 30 | |
| 150×25 | 6×1 | 168.3×33.4 | 40 | |
| 150×32 | 6×11/4 | 168.3×42.2 | 40 | |
| 150×40 | 6×11/2 | 168.3×48.3 | 45 | |
| 150×50 | 6×2 | 168.3×60.3 | 45 | |
| 150×65 | 6×21/2 | 168.3×73.0 | 45 | |
| 150×80 | 6×3 | 168.3×88.9 | 45 | |
| 150×90 | 6×31/2 | 168.3×101.6 | 50 | |
| 150×100 | 6×4 | 168.3×114.3 | 50 | |
| 150×125 | 6×5 | 168.3×141.3 | 60 | |
Примечание:
При заказе в соответствии со стандартом SH/T3419 наружный диаметр должен соответствовать указанному в стандарте SH/T3405 «Серия наружных диаметров стальных труб для нефтехимических предприятий».
Эксцентричный Переходной Ниппель ASME B16.11

| Номинальный размер | Передозировка в конце. | Длина меньшего конца | От начала до концаto end | |
| DN | NPS | OD1×0D2 | SL min | A |
| 65×6 | 21/2×1/8 | 73.0×10.3 | 22 | 178 |
| 65×8 | 21/2×1/4 | 73.0×13.7 | 22 | |
| 65×10 | 21/2×3/8 | 73.0×17.1 | 22 | |
| 65×15 | 21/2×1/2 | 73.0×21.3 | 25 | |
| 65×20 | 21/2×3/4 | 73.0×26.7 | 25 | |
| 65×25 | 21/2×1 | 73.0×33.4 | 30 | |
| 65×32 | 21/2×11/4 | 73.0×42.2 | 30 | |
| 65×40 | 21/2×11/2 | 73.0×48.3 | 40 | |
| 65×50 | 21/2×2 | 73.0×60.3 | 40 | |
| 80×6 | 3×1/8 | 88.9×10.3 | 22 | 203 |
| 80×8 | 3×1/4 | 88.9×13.7 | 22 | |
| 80×10 | 3×3/8 | 88.9×17.1 | 22 | |
| 80×15 | 3×1/2 | 88.9×21.3 | 25 | |
| 80×20 | 3×3/4 | 88.9×26.7 | 25 | |
| 80×25 | 3×1 | 88.9×33.4 | 30 | |
| 80×32 | 3×11/4 | 88.9×42.2 | 30 | |
| 80×40 | 3×11/2 | 88.9×48.3 | 40 | |
| 80×50 | 3×2 | 88.9×60.3 | 40 | |
| 80×65 | 3×21/2 | 88.9×73.0 | 40 | |
| 90×6 | 31/2×1/8 | 101.6×10.3 | 22 | 203 |
| 90×8 | 31/2×1/4 | 101.6×13.7 | 22 | |
| 90×10 | 31/2×3/8 | 101.6×17.1 | 22 | |
| 90×15 | 31/2×1/2 | 101.6×21.3 | 25 | |
| 90×20 | 31/2×3/4 | 101.6×26.7 | 25 | |
| 90×25 | 31/2×1 | 101.6×33.4 | 30 | |
| 90×32 | 31/2×11/4 | 101.6×42.2 | 30 | |
| 90×40 | 31/2×11/2 | 101.6×48.3 | 40 | |
| 90×50 | 31/2×2 | 101.6×60.3 | 40 | |
| 90×65 | 31/2×21/2 | 101.6×73.0 | 40 | |
| 90×80 | 31/2×3 | 101.6×88.9 | 40 | |
| 100×8 | 4×1/4 | 114.3×13.7 | 25 | 229 |
| 100×10 | 4×3/8 | 114.3×17.1 | 25 | |
| 100×15 | 4×1/2 | 114.3×21.3 | 25 | |
| 100×20 | 4×3/4 | 114.3×26.7 | 30 | |
| 100×25 | 4×1 | 114.3×33.4 | 30 | |
| 100×32 | 4×11/4 | 114.3×42.2 | 40 | |
| 200×25 | 8×1 | 219.1×33.4 | 40 | 330 |
| 200×32 | 8×11/4 | 219.1×42.2 | 40 | |
| 200×40 | 8×11/2 | 219.1×48.3 | 45 | |
| 200×50 | 8×2 | 219.1×60.3 | 45 | |
| 200×65 | 8×21/2 | 219.1×73.0 | 45 | |
| 200×80 | 8×3 | 219.1×88.9 | 50 | |
| 200×90 | 8×31/2 | 219.1×101.6 | 50 | |
| 200×100 | 8×4 | 219.1×114.3 | 50 | |
| 200×125 | 8×5 | 219.1×141.3 | 60 | |
| 200×150 | 8×6 | 219.1×168.3 | 60 | |
| 250×50 | 10×2 | 273.0×60.3 | 45 | 381 |
| 250×65 | 10×21/2 | 273.0×73.0 | 45 | |
| 250×80 | 10×3 | 273.0×88.9 | 50 | |
| 250×90 | 10×31/2 | 273.0×101.6 | 50 | |
| 250×100 | 10×4 | 273.0×114.3 | 60 | |
| 250×125 | 10×5 | 273.0×141.3 | 60 | |
| 250×150 | 10×6 | 273.0×168.3 | 65 | |
| 250×200 | 10×8 | 273.0×219.1 | 65 | |
| 300×50 | 12×2 | 323.8×60.3 | 50 | 406 |
| 300×65 | 12×21/2 | 323.8×73.0 | 50 | |
| 300×80 | 12×3 | 323.8×88.9 | 60 | |
| 300×90 | 12×31/2 | 323.8×101.6 | 60 | |
| 300×100 | 12×4 | 323.8×114.3 | 65 | |
| 300×125 | 12×5 | 323.8×141.3 | 65 | |
| 300×150 | 12×6 | 323.8×168.3 | 65 | |
| 300×200 | 12×8 | 323.8×219.1 | 70 | |
| 300×250 | 12×10 | 323.8×273.0 | 70 | |
Примечание:
При заказе в соответствии со стандартом SH/T 3419 следует использовать наружный диаметр, указанный в стандарте SH/T 3405 «Наружный диаметр труб в нефтехимической промышленности».
Для получения точных данных о размерах, допустимом давлении или сертификатах материалов всегда обращайтесь к каталогу производителя или техническому паспорту конкретного продукта.